全新模擬經營遊戲?!《原神》開發商米哈遊於中國申請多份《星布谷地》商標

(GNN 記者 Jisho 報導) 2024-02-26 17:14:58

  中國遊戲廠商米哈遊旗下子公司上海米哈遊璃月科技有限公司近期申請了多份《星布谷地》的商標,其中涵蓋遊戲等十幾種分類,推測可能是米哈遊的全新遊戲。
 
  • image
    截自中國國家知識產權局商標局網站
 
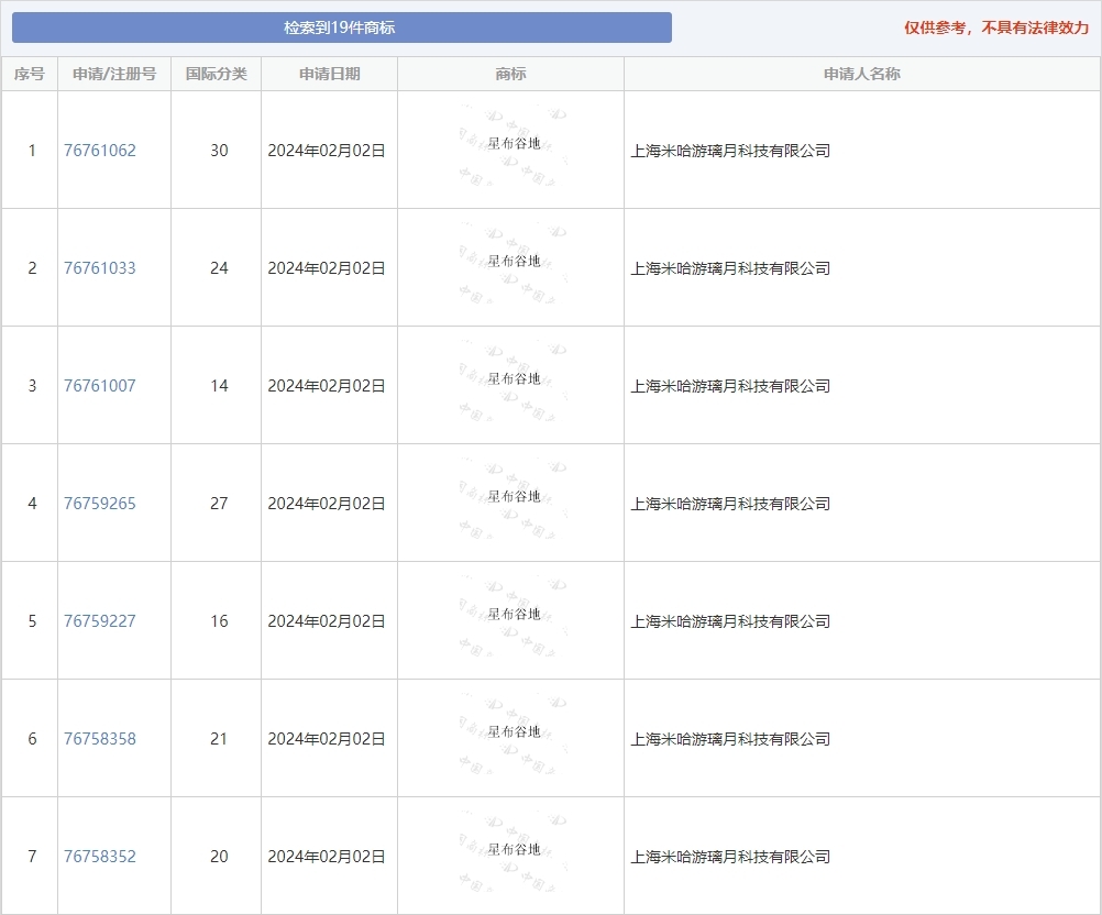
  根據中國國家知識產權局商標局網站資料,上海米哈遊璃月科技有限公司於今年 2 月 2 日提出了多件《星布谷地》的商標申請,涵蓋 19 種分類,目前仍在等待審查。
 
  • image
    截自中國國家知識產權局商標局網站
 
  目前已可在部分中國的社交平台上看到《星布谷地》申請的帳號,有中國網友猜測,這很有可能是米哈遊全新的模擬經營遊戲,但實際情況仍有待官方公布。

標籤:

#米哈遊

載入中...

延伸報導

米哈遊公開最新 Unreal Engine 5 打造寫實奇幻開放世界新作預告網站及宣傳影片
其他 | 米哈遊(miHoYo)
579
MST POP UP STORE in Kaohsiung 2025 米哈遊授權 2025 高雄快閃將於 10 月 31 日登場
宅物 | 米哈遊(miHoYo)
2
米哈遊新作《崩壞:因緣精靈 Honkai: Nexus Anima》首度公開宣傳影片 揭露遊戲 icon
其他 | 米哈遊(miHoYo)
204
米哈遊官方正規授權周邊專門店西門町全新門市開幕 限時活動一次看
宅物 | 米哈遊(miHoYo)
24
《絕區零》《崩壞:星穹鐵道》《原神》等松山文創園區實體活動資訊曝光 公開實體雷射票設計
活動 | 米哈遊(miHoYo)
14
米哈遊神祕新作《崩壞:因緣精靈 Honkai: Nexus Anima》申請商標註冊並開設 X 帳號
產業 | 米哈遊(miHoYo)
382
《絕區零》全新 2.5 版本「微光引燈時」現已上線 攜手台灣三星電子展開「震撼星視界」深度合作
3C | 絕區零
22
外電報導蘋果開除數名中國區 App Store 職員 涉性侵米哈遊員工、與遊戲開發者不當往來
產業 | 蘋果 Apple
284
《原神》開發商米哈遊向 200 多位洩密者追究侵權責任 中國法院判決最高應賠償 247 萬元
產業 | 米哈遊(miHoYo)
190
3D 模擬經營遊戲《喵喵茶餐廳》今日上市 招募個性貓貓員工打造專屬美食樂園
PC | 喵喵茶餐廳
0
《原神》開發商米哈遊在蒙特婁設立首個北美工作室
其他 | 米哈遊(miHoYo)
0
米哈遊打造銀河冒險 RPG《崩壞:星穹鐵道》預先註冊開跑並開放測試 預告登陸 Epic 平台
多平台 | 崩壞:星穹鐵道
267
投稿《原神》米哈遊創辦人蔡浩宇表示:「AI 顛覆遊戲產業,建議普通開發者轉行」
產業 | 米哈遊(miHoYo)
106
《原神》開發商米哈遊宣布 HoYoverse 總部辦公室在新加坡正式啟用
產業 | 米哈遊(miHoYo)
57
米哈遊 gamescom 攤位試玩報導 體驗 PS5 版《崩壞:星穹鐵道》及 PC 版《絕區零》
活動 | 絕區零
56
【CJ 23】《崩壞:星穹鐵道》於 ChinaJoy 亮相 米哈遊總裁兼創辦人劉偉到場與玩家同樂
人物 | 崩壞:星穹鐵道
52
【TGS 23】米哈遊展位直擊 一睹《原神》《崩壞:星穹鐵道》星穹列車及《絕區零》Coser
花絮 | 米哈遊(miHoYo)
32
米哈遊官方正規授權《原神》系列周邊預購開跑 推出神之眼吊飾、角色立牌等商品
宅物 | 原神
26
《崩壞:星穹鐵道》釋出『走近星穹「模擬宇宙:寰宇蝗災」特別節目』影片
多平台 | 崩壞:星穹鐵道
26
田園生活模擬遊戲《靜謐田園》中文版確定 7 月同步在亞洲推出
多平台 | 靜謐田園(ほの暮しの庭)
128