任天堂社員註冊遊戲控制器專利 透露未來新主機可能樣貌

(GNN 記者 Jerry 報導) 2015-12-14 11:37:55

  美國專利商標局近日通過了一份由桑原雅人(Masato KUWAHARA)等日本開發者所註冊的專利案件,詳述了這個結合實體操控搖桿與觸控螢幕的遊戲手把運作概念。值得注意的是,桑原雅人其實就任職於任天堂技術開發本部,他先前曾與岩田聰一同參與有關任天堂 DSi 的研發過程訪談。
 
  • image
  • image

    由桑原雅人等日本開發者所提出的掌上遊戲主機設計概念圖

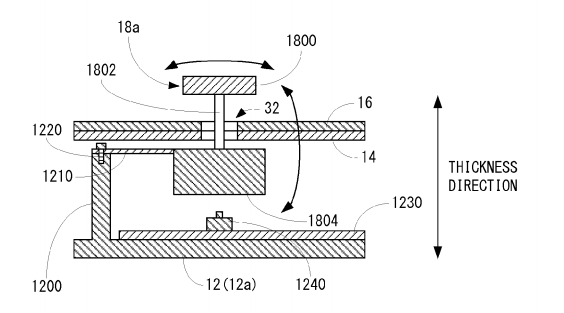
  首先,這個控制器擁有 4 個實體操控元件,分別為上圖中間的兩個類比搖桿(18a、18b)以及控制器上方的 LR 鈕(20a、20b)。此外也有可以置放遊戲卡帶、SD 卡或是 Sim 卡的卡槽(40)。
 
  • image

    類比搖桿設計概念示意圖

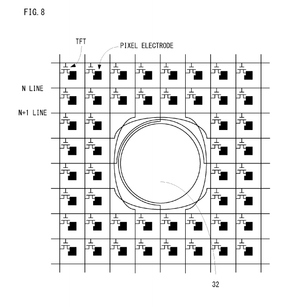
  這項裝置最令人眼睛一亮的地方在於中間的觸控螢幕除了支援相同於 3DS 的 3D 裸視技術與動態感應機制外,其顯示範圍也最大程度地涵蓋了類比搖桿周圍,如下圖所示。這樣一來,遊戲畫面便可結合搖桿本身變化出更多可能性。
 
  • image
  • image

    類比搖桿周圍也可與遊戲畫面本身結合,變化出更多可能性

  整體來說,這個控制器完整的將實體搖桿與觸控螢幕結合,同時也能夠透過 Sim 卡連接至行動數據網路,最後再融合了 3DS 的 3D 裸視技術,令人很難不聯想到任天堂預計在明年公開的新主機「NX」。
 
  • image

    操作主畫面

  • image

    連接上網路瀏覽器

 
【更多運行遊戲的示意圖】
  • image
  • image
  • image
  •  
  • image
  • image
  • image
 
  欲知更多有關本專利的細節,玩家可至美國商標專利局官網查看完整的文件資料。

標籤:

#nx

載入中...

延伸報導

【TpGS 26】任天堂 2/1 將於大會舞台舉行 Nintendo Switch 2 遊戲同樂會
人物 | Nintendo 任天堂
2
【TpGS 26】任天堂攤位規模更勝去年 帶來「超級瑪利歐兄弟 40 週年歷史牆」
宅物 | Nintendo 任天堂
22
「Nintendo Switch 2025 年度回顧」網頁公開 一起來回顧你的 2025 年吧!
花絮 | Nintendo 任天堂
12
任天堂社長表示近期記憶體漲價「不會對財務造成立即影響」
產業 | Nintendo 任天堂
53
星野源在任天堂博物館熱唱「創造」作為紅白歌合戰特別演出
人物 | Nintendo 任天堂
20
SIE 專利文件曝光遊戲控制器背面按鈕設計 透露在 PS5 控制器上採用的可能性
PS5 | PlayStation 5 周邊
0
Pokémon 社長透露任天堂新主機「NX」將改變家機與掌機概念 預定投入開發支援遊戲
Switch | Nintendo Switch 主機
0
【專欄】以編輯觀點分享任天堂新主機「Nintendo Switch」體驗會採訪心得與未來展望
活動 | Nintendo Switch 主機
0
任天堂揭露下一代新主機「Nintendo Switch」詳情 融合家用主機與掌上主機概念
Switch | Nintendo Switch 主機
0
任天堂宣布將於今日晚間揭露下一代主機「NX」詳情
Switch | Nintendo Switch 主機
0
任天堂次世代主機「NX」謠傳將搭載 Android 作業系統
其他 | Nintendo 任天堂
0
任天堂下一代新主機「NX」預定明年 3 月上市 《薩爾達傳說》新作將跨 Wii U / NX 推出
多平台 | Nintendo Switch 主機
0
【巴哈大調查】任天堂新主機「Nintendo Switch」上市問卷調查活動開跑!
Switch | Nintendo Switch 主機
0
任天堂新主機「Nintendo Switch」將不具備向下相容 Wii U 與 N3DS 的功能
Switch | Nintendo Switch 主機
0
任天堂社長岩田聰首度證實 全新遊戲主機「NX」已著手開發中
其他 | Nintendo 任天堂
0
任天堂新主機「Nintendo Switch」確定採用客製化 NVIDIA Tegra 行動處理器
Switch | Nintendo Switch 主機
0
外媒揭露任天堂新主機「Nintendo Switch」將採用 Tegra X1 世代處理晶片
Switch | Nintendo Switch 主機
0
任天堂宣布將於 1 月 13 日線上直播次世代主機 Nintendo Switch 發表會
Switch | Nintendo Switch 主機
0
投稿外傳任天堂申請專利 可能於手機市場推出官方模擬器
手機 | Nintendo 任天堂
27
投稿市調公司 Super Data 預估 任天堂最新主機 Nintendo Switch 今年可賣出 500 萬台
Switch | Nintendo Switch 主機
28