SIE 最新「語音助手」專利曝光!利用 AI 連接遊戲以語音提示玩家如何攻略

(特約編輯 尊師 K) 2019-10-08 18:15:02

  近日有玩家透過專利資料庫搜尋引擎「PATENTSCOPE」網站,發現 Sony Interactive Entertainment(以下簡稱為 SIE)最新申請的專利已經正式公開,這是一項使用人工智慧在 PlayStation 主機上提供語言玩家支援系統的專利。
 
  這個 SIE 新申請的專利技術內容,並不是像 Xbox One 上的 Cortana 這種主機版的語音控制智慧管家功能,而是以人工智慧直接連結並辨識遊戲內容,直接支援玩家遊戲過程的系統。
 
  • image

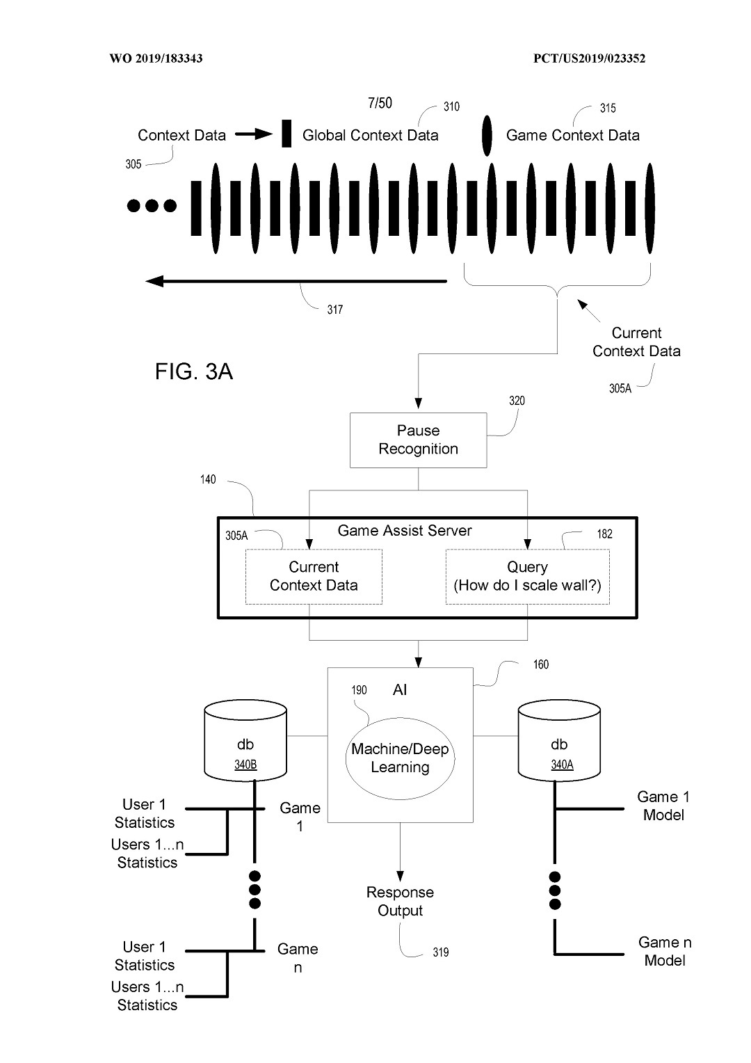
    專利系統功能流程示意圖

  根據專利申請內容舉出的例子,玩家可以在玩一款開放世界式角色扮演遊戲時向 PlayStation 主機發問,藉此獲得特定怪物攻略方式、武器取得地點,或是自動標注到目的地的路線等等協助,人工智慧會同時辨識玩家問題和遊戲內容,提供合適的建議。
  • image

    範例圖片採用了《上古卷軸 5:無界天際》的印象圖構成一個玩家在遊玩世界式角色扮演遊戲的情境
    從圖上還可以看到這項技術目前被命名為「PlayStation Assist」

  近年來在智慧型手機和智慧管家類產品的普及下,玩家使用類似語音辨識功能的機會大增,但有用過的人應該都會感覺到普遍來說辨識精細度還有待加強。但這次 SIE 申請的專利技術,把輸入系統的關鍵字詞區分為一般關鍵字(比如玩家提出的問題內容),以及遊戲關鍵字(比如道具地點或是怪物弱點)兩大項,會在背景伺服器中分開來處理,並各自透過深度學習技術讓人工智慧持續學習,利用這個方式建立起玩家資料統計與遊戲模型情報各自獨立的資料庫,可以期待能夠更進一步提高辨識精準度。
 
 

載入中...

延伸報導

SIE 決定關閉去年甫成立的工作室「Dark Outlaw Games」
產業 | Sony Interactive Entertainment SIE SIEJA SIET SIEA SIEE
30
Sony 策略大轉向?據傳 PS 自家獨佔大作未來將不再登陸 PC 平台
產業 | Sony Interactive Entertainment SIE SIEJA SIET SIEA SIEE
155
Sony 將關閉《汪達與巨像》《惡魔靈魂》重製版開發工作室 Bluepoint Games
產業 | Sony Interactive Entertainment SIE SIEJA SIET SIEA SIEE
130
Sony 公布 2025 年度第 3 季財報 PS5 主機累計銷售突破 9000 萬台大關
產業 | Sony Interactive Entertainment SIE SIEJA SIET SIEA SIEE
87
加藤小夏擔任模特兒!日本潮牌 WIND AND SEA 將推 PlayStation 聯名服飾
宅物 | Sony Interactive Entertainment SIE SIEJA SIET SIEA SIEE
52
投稿傳 Sony 忽視員工警告執意停止 PSV 線上商城 玩家的反彈讓高層感到意外
PS Vita | PS Vita 網路服務
38
【E3 19】Sony 宣布缺席 E3 2019!將不舉辦媒體發表會且無同時期獨立活動
活動 | Sony Interactive Entertainment SIE SIEJA SIET SIEA SIEE
0
SIE 宣布以 36 億美元收購《最後一戰》《天命》開發商 Bungie
產業 | Bungie
0
【CJ 15】Sony 預定 29 日舉辦 ChinaJoy 展前發表會 兩款中國開發 PS4 新作曝光
活動 | Sony Interactive Entertainment SIE SIEJA SIET SIEA SIEE
0
代理商 GSE 宣布將推出以初代 PlayStation 為主題的紀念產品
其他 | Sony Interactive Entertainment SIE SIEJA SIET SIEA SIEE
0
「PS 夥伴大獎 2022 日本及亞洲地區」頒獎典禮報導 《艾爾登法環》《原神》雙雙拿下大獎
產業 | Sony Interactive Entertainment SIE SIEJA SIET SIEA SIEE
383
PlayStation 宣布跟進抵制仇恨不實言論 停止在 Facebook 上的一切廣告與活動
PS4 | PS4 遊戲綜合
0
投稿SIE 在 Steam 上的發行商名稱改為 PlayStation PC
多平台 | Sony Interactive Entertainment SIE SIEJA SIET SIEA SIEE
0
PlayStation 5 主機調漲在歐洲、澳洲與紐西蘭等地的建議售價
3C | PlayStation 5 主機
71
投稿Sony 集團第一季財報出爐 受到地震及匯率影響但 PS4 熱賣獲利
多平台 | Sony Interactive Entertainment SIE SIEJA SIET SIEA SIEE
4
吉田修平獲頒 2023 BAFTA 終身成就獎 訪問影片分享對遊戲的熱忱
人物 | Sony Interactive Entertainment SIE SIEJA SIET SIEA SIEE
13
前 Apple Arcade 內容負責人 Nicola Sebastiani 離開 PlayStation mobile 職務
產業 | PlayStation 5 網路服務
0
經典開機音響起!PlayStation 有聲壓克力 LOGO 展示架 7 月發售
宅物 | Sony Interactive Entertainment SIE SIEJA SIET SIEA SIEE
8
投稿SONY 集團報告指出 PS 本家遊戲未來有可能登陸 PC 以增加營收
多平台 | Sony Interactive Entertainment SIE SIEJA SIET SIEA SIEE
58
PlayStation 30 週年 × YOASOBI 創作樂曲釋出 123 秒特別廣告影片
花絮 | PlayStation 5 主機
20